Criteria for success
A utility patent application…
- Seeks to protect your intellectual property by securing exclusive rights to an invention
- Must be filed before any public disclosure of the invention
- Provides detailed description of a product composition and function
- Establishes novelty of the invention to “a person skilled in the art”
- Includes several sections, such as the Title, Abstract, Background, Detailed Description, Drawings, and Claims
- Uses clear, black and white line drawings to effectively disclose the invention
- Is written for the primary audience of patent examiners, judges, juries, and investors
Each section has its own purpose:
- Claims: define the scope of the desired protection, specifying what the patent protects and what would constitute infringement
- Title: provides a concise and informative description of the invention
- Abstract: offers a short, standalone summary for referencing purposes
- Technical Field: provides context for the invention’s application in a single-sentence format
- Background of the Invention: describes the problems the invention aims to solve and limitations of the current solutions
- Summary of the Invention: offers a high-level overview of the invention in a more accessible format than the claims
- Brief Description of the Drawings: contains concise descriptions of the figures included in the patent application
- Detailed Description of the Invention: provides a detailed explanation of the invention, including how it works, how to make it, and how it is used
Purpose
A patent application is a legal document seeking to protect an invention, which must provide its detailed disclosure to enable others to reproduce it. A patent application often reports the same information as a journal article but is written for a difference audience and with a different purpose.
While the MIT Technology and Licensing Office (TLO) assigns patent attorneys to prepare and submit your application, you need to provide them with a clearly written draft, which covers every aspect of your invention and all possible versions of it, including those you might not have made yet.
Requirements
A patent is a type of intellectual property that gives its owner the legal right to exclude others from making, using, or selling an invention for a limited period of time in exchange for publishing an enabling disclosure of the invention. For your patent application to be granted, it must meet the required criteria of (i) novelty, (ii) non-obviousness, and (iii) enablement.
Novelty means that an invention should be novel over all public knowledge on the day of filing. To effectively communicate to examiners the novelty of an invention, focus on its unique features and differentiate it quantitatively from existing solutions. Wherever possible, use clear sketches and annotated diagrams to showcase distinctiveness of your invention.
For example…
- Instead of claiming “an improved strength and stiffness,” use specific language to report “a 55% increase in the tensile strength and a 30% increase in the Young’s modulus”.
- Instead of reporting “a higher efficiency of a manufacturing process,” include quantitative data demonstrating a 40% reduction in processing time and/or a 25% reduction in fabrication costs”.
To meet the criterion of inventiveness or non-obviousness, you need to demonstrate a minimal inventive step. You need to craft an argument that a ‘person skilled in the art’ would not consider your invention to be trivial, which can be simply achieved by modifying a piece of prior art in an obvious manner. You can do it by demonstrating a specific long-standing need in the field that your invention finally addresses.
For example…
- A US patent US 8,453,270 B2 claims a patterned heat management material that can both direct body heat and maintain the properties of the base textile. At the time of the application filing, heat reflective materials such as mylar already existed, but in the form of solid films. The unmet need addressed by the invention was to prevent trapping moisture near the body by pattering the reflective material. While incremental, this solution was neither suggested by the prior art nor obvious to those skilled in this field.
Alternatively, you can argue that a new combination of existing materials prepared under a different set of processing conditions creates a surprising resulting effect, especially if the prior art suggested such a combination would not work.
For example…
- A US patent 4,428,752 claims the invention of an olefin blended yarn that is simultaneously lightweight, high-bulk, and moisture-wicking. It cites multiple prior patents that use polyolefin in yarn making but demonstrates a minimal inventive step by pointing out that none of them discloses a blend of olefin and natural fibers that becomes a high-bulk yarn under controlled application of heat.
To meet the enablement requirement, you need to provide a detailed enough description of your invention (including drawings) to teach a person skilled in the relevant field how to make and use the invention without undue experimentation.
Structure diagram & examples
Patent applications must adhere to a specific format, including the type of information required, the order in which it is presented, and the exact language used. Strictly adhering to these rules makes it easier to define the scope of the invention and to prevent infringement. A good, logically organized, and complete disclosure of your invention is a pre-requisite for the patent application to meet these formal requirements.
Instead of trying to perfect the legal language, focus on preparing and organizing all the ingredients necessary for a good disclosure, which will help the TLO-assigned patent attorney to prepare a good application.
If you already have a draft of a manuscript prepared, re-organize it into the patent application format before submitting your invention disclosure. This will help you to identify and fill the gaps in your disclosure to increase the chances of ultimately obtaining a solid patent. Unlike publishing an academic manuscript, having a patent granted is not the end goal; it should be precisely formulated to withstand the intense scrutiny of potential legal challenges and provide the broadest possible coverage for your invention.
| Required sections | Examples |
|---|---|
|
Title of the invention Brief, descriptive & technically accurate, using 2-7 words |
|
|
Technical Field Invention context from a broad area to a narrow solution |
|
|
Prior art |
Relevant prior patents & papers. |
|
Background of the Invention
Limitations, drawbacks & unmet needs of the existing solutions that the invention aims to address |
|
|
Brief Description of Drawings Description of what is illustrated in your drawings, including the details of at least one way of carrying out your invention |
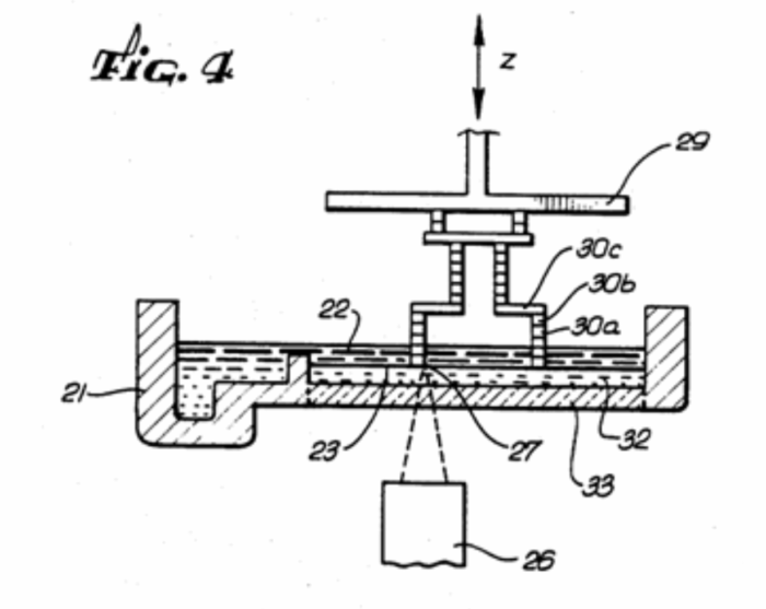
FIG. 1 is a cross-sectional view of one embodiment of an insulation material of the present invention; FIG. 2 is a cross-sectional view of another embodiment of an insulation material of the present invention; FIG. 3 is a combined block diagram, schematic and elevational sectional view of a presently preferred embodiment of a system for practicing the invention; FIG. 4 is an elevational sectional view of a second embodiment of a stereolithography system for the practice of the invention; |
|
Claims Legally binding statements that define the boundaries of the invention by describing a method, apparatus, or a material, and can be either independent (broad) or dependent (narrow). This is the most important part of the patent application; other sections merely provide evidence and context to support the claims. |
An independent claim (in a single sentence): An improved system for producing a three-dimensional object from a fluid medium capable of solidification when subjected to prescribed synergistic stimulation, said system comprising: a body of fluid medium capable of transforming its physical state in response to synergistic stimulation; object support means immersed within said fluid medium for supporting a three-dimensional object to be formed; translational means for selectively moving said object support means progressively away from a designated surface of said fluid medium; and reaction means capable of altering the physical state of said fluid medium and operating in a prescribed pattern upon said designated surface of said fluid medium to provide a thin solid lamina at said surface representing a corresponding cross-sectional lamina of said three-dimensional object to be formed, whereby successive adjacent laminae are provided to form said three-dimensional object on said object support means as said translational means moves said support means away from said designated surface. A dependent claim (in a single sentence): A system as set forth in claim 2, wherein said reaction means includes a beam of impinging radiation. |
|
Summary of the Invention A quick overview for patent examiners and those searching for similar inventions, which includes the broadest definition of the invention scope. |
Can be created by re-writing your claims in a plain language (compare to the above example). The present invention provides a new and improved system for generating a three-dimensional object by forming successive, adjacent, cross-sectional laminae of that object at the surface of a fluid medium capable of altering its physical state in response to appropriate synergistic stimulation, the successive laminae being automatically integrated as they are formed to define the desired three-dimensional object. |
|
Detailed Description of Invention Provides enough detail for someone skilled in the art to recreate the invention by describing its components, assembly, and operation, and presenting multiple alternative embodiments. |
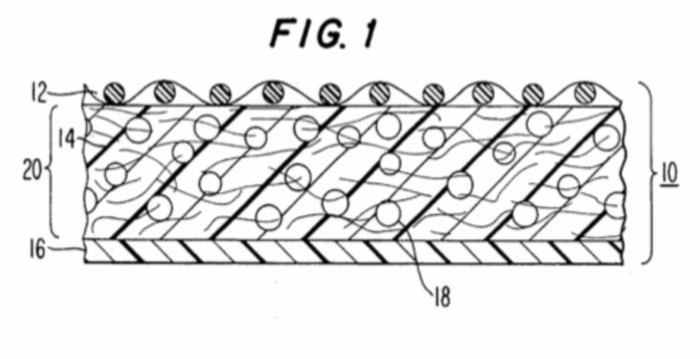
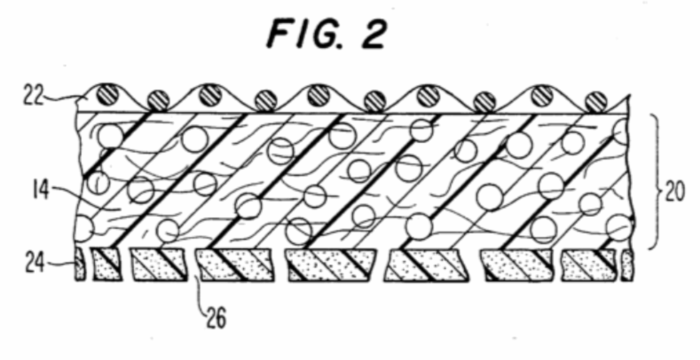
As is shown in FIG. 1, in its simplest form, the present invention comprises layered insulation material 10 made from conventional multiple layers 12, 14, 16 of fabric material, into which resilient thermoplastic microspheres 18 are incorporated. The microspheres 18 are restrained within the material by containing them in a cell 20 defined between barrier layers of material 12, 16. The key to the present invention is to retain microspheres within conventional insulation during normal use. To this end, a number of strategies can be employed. As is shown in FIG. 1, barrier layers 12, 16 can be provided comprising sufficiently closed structure that the microspheres cannot pass through them during normal use. In this case, the microspheres are loosely contained within a confined space of the cell. The barrier layers may be part of the original material of the insulation or may be a separate layer or layers of material applied on top of or between existing insulation layers. … … An alternative embodiment of the present invention is shown in FIG. 2 wherein a first barrier layer 22 is again provided in the form of a woven material. Second barrier layer 24, however, is a porous membrane, such as a membrane of expanded polytetrafluoroethylene (PTFE), having micropores 26 therein. The porous nature of this second barrier layer 24 provides another avenue for the introduction of microspheres and/or improved means to provide pressure differential flow through the material. For many applications, the second barrier layer 24 may simply be constructed from the same material as the first barrier layer 22. … |
|
Abstract |
A brief, standalone summary of the invention, different from the summary section, which elaborates on the claims. |
Example structure diagram of a utility patent application
Drawings
The drawings can help illustrate the different embodiments and examples. For the correct disclosure of the invention, it is important to file good-quality drawings.

A cross-sectional view of one embodiment of an insulation material of the present invention (US patent US5571592A, Puffed insulative material)

A cross-sectional view of another embodiment of an insulation material of the present invention (US patent US5571592A, Puffed insulative material)

A combined block diagram, schematic and elevational sectional view of a presently preferred embodiment of a system for practicing the invention (US Patent US4575330A, Apparatus for production of 3D objects by stereolithography)

An elevational sectional view of a second embodiment of a stereolithography system for the practice of the invention (US Patent US4575330A, Apparatus for production of 3D objects by stereolithography)
Best Practices
- Identify the problem that is solved by the invention
- Conduct a comprehensive search to identify relevant existing patents and publications to differente your invention from prior art
- Do not use ambiguous or vague terminology: generic language and/or inconsistent terminology can lead to multiple interpretations
- Always provide descriptions of multiple possible embodiments: focusing on a single embodiment can limit the patent’s scope and allow your competitors to design around your claims
- Include clear drawings that show the invention from multiple angles, including top, bottom, side, cross-sectional, and perspective views when possible
- Label all parts and features in the drawings by using clear and concise language, ensuring that the labels are easy to understand
- When drafting claims, follow the three-parts format, namely: preamble, transitional/linking phrase, and body of the claim
- Include claims of varying scope
- Only use adjectives such as fast, slow, long, short, wide, improved, efficient, complete, thin, strong, flat, etc. to define one element of the invention relative to another element (e.g. “A pore is large enough to allow unexpanded microspheres to pass easily, but small enough to resist escape of expanded microspheres“)
- Future-proof your application: consider how your invention might evolve, and incorporate potential adaptations into your claims to maintain relevance and value over time
- After the final claim set is formulated, carefully check the drawings & detailed description to verify that every claim is appropriately described & supported
- Think like a potential competitor trying to infringe on your patent
Annotated Example
Strengths:
- Concise and descriptive Title
- Clear, detailed, and properly labeled black-and-white Drawings provide a visual aid to the claims
- Multiple embodiments of the invention are illustrated in drawings, helping to broaden the scope of protection
- Quantitative data illustrating the invention performance are plotted
- At least one embodiment of a method and an apparatus, which that can be used to produce the invented material, is illustrated as a separate drawing
- An alternative embodiment of the invention is introduced that does not require some elements included in the preferred embodiments (barrier layers)
- The Background of the Invention section introduces the problem to solve and outlines the state of the art to claim novelty
- The minimum inventive step requirement is met by explaining that combining multiple prior solutions in an innovative manner leads to improved non-obvious performance
- Quantitative limitations used in the claims eliminate ambiguity and vagueness, providing a precise understanding of what is protected by the patent
Areas for Improvement:
- All the included claims are composition/matter claims, which protect a specific combination of the ingredients within a product
- Including both process and composition claims in a patent application can help to achieve a broader protection against infringement by covering different aspects of an invention
- Process claims protect the method of making or using the invention rather than its physical makeup
Cited patents
This article cites several granted US utility patents:
- US Patent US4575330A, Apparatus for production of 3D objects by stereolithography
- US Patent US5571592A, Puffed insulative material
- US Patent US6046118A, Composite sheet material
- US Patent US6890777B2, Quantum dot white and colored light emitting diodes
- US Patent US3081519A, Fibrillated strand
- US Patent US9777455B2, Water-permeable woven geotextile
Additional resources